K. Mathwig, M. Zevenbergen, A. R. M. Verschueren, European Patent Application EP4574246A1, US Patent Application US20250205648A1. [link, pdf]
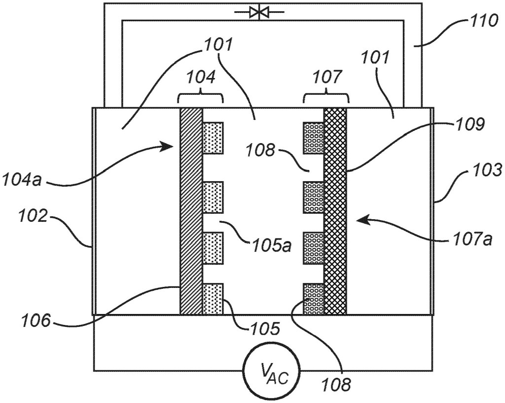
According to an aspect of the present inventive concept there is provided a device for electrodialysis, comprising: a channel configured for receiving a flow of an electrolyte; a first electrode and a second electrode, wherein the first and second electrode are electrically connected for applying an alternating current voltage; a first ion flow controlling element being configured to allow flow of ions from a second side to a first side, the first ion flow controlling element comprising a first substrate and a first ion-exchange membrane, wherein the first substrate comprises pores; a second ion flow controlling element being configured to allow flow of ions from a second side to the a side, the second ion flow controlling element comprising a second substrate and a second ion-exchange membrane, wherein the second substrate comprises pores.
